━ 可變增益,最高達70dB(約為x3000),以10dB步長可切換
━ 帶寬:1kHz - 1.2GHz
━ 帶寬獨立于增益設置
━ 噪聲系數降至1.9 dB(330 pV/√Hz)
━ 支持本地和遠程增益控制
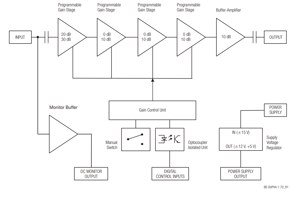
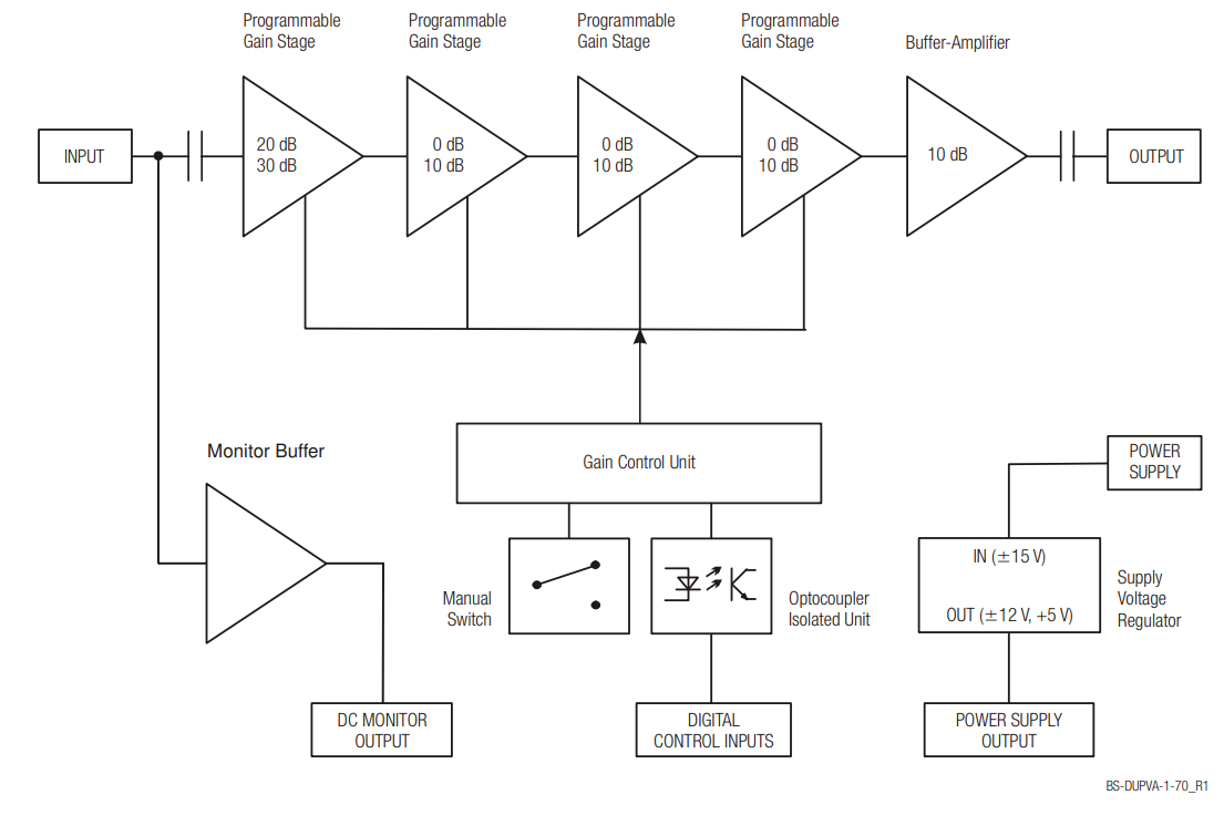
超寬帶電壓放大器系列DUPVA-1專為具有大動態范圍的快速和精確測量而設計。增益可通過本地增益選擇器或光電隔離的遠程控制接口調節。增益獨立的頻率響應保證在任何增益設置下進行精確的時間分辨測量。在改變增益設置時,上升時間幾乎不會發生顯著變化,這對可靠的時間分辨測量至關重要。此外,頻率響應經過優化,全頻段內非常平坦。在脈沖和瞬態測量中不會出現增益峰值或顯著失真。

典型性能特性

通過LED指示所選的增益設置。輸出具有短路保護功能。電源通過3針Lemo?插座供應。設備配備了配對連接器??蛇x的電源PS-15可用。欲了解更多信息,請查看數據表。
━ 示波器和瞬態記錄儀前置放大器
━ 光電倍增管和微通道板放大器
━ 光接收器和電流放大器的信號增強器
━ 時間分辨脈沖和瞬態測量
━ 自動化測量系統


![]()